
2-Tier Architecture
Presenting a foundational architecture for web-based applications—these straightforward applications are designed to efficiently manage a modest user base and maintain minimal performance metrics. Given the simplicity of the architecture, the error rate on these web applications may be relatively higher. 2-tier architectures can be categorized into monolithic architecture and hybrid architecture, and it’s important not to conflate them with microservices architecture, which is a distinct paradigm. In the hybrid architecture, various services layers are employed to facilitate load balancing, differentiating it from other architectural models.

The 2-Tier Architecture Configuration on AWS services might look like this

3-Tier Architecture
On the other hand, the 3-tier architecture stands out as a stable and foundational structure for web applications. With a well-balanced level of complexity, it offers the necessary robustness to develop Proof of Concept (POC) or Minimum Viable Product (MVP) applications as a starting point.

The 3-tier architecture can be categorized into monolithic architecture, hybrid architecture, and microservice architecture.
In the monolithic architecture, akin to the 2-tier model, a single UI/FrontEnd instance and a single API instance manage all backend services.
On the other hand, the hybrid architecture involves multiple UI/FrontEnd services and multiple API services, enabling scalability across multiple instances for both the FrontEnd and Backend services. Despite this, the database or data relies on a single source, maintaining a unified data structure.
Here’s an illustrative example of a 3-tier architecture
Hybrid Solution

A Pure Microservice Solution

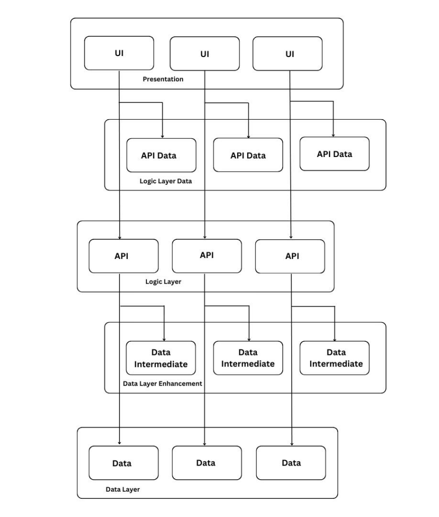
Multi-Tier or N-Tier Architecture
Multi-tier or N-tier architecture builds upon the foundational 3-tier architecture, introducing additional complexities to enhance the delivered solution. This advanced architecture incorporates intermediary tiers designed to augment the base structure. These intermediary tiers encompass various components such as intermediate data storage, API enhancement tools, FrontEnd cache solutions, and more. Explore some examples of this intricate tier architecture below:

Here is a sample of the AWS environment

Culmination
Tiered web architectures, from 2-tier to advanced multi-tier models, offer options for different application needs. While simpler 2-tier setups suit smaller user bases, stable 3-tier architectures cater to broader applications. Choosing the right architecture is crucial for performance. Assess your project’s needs to select the best fit. Ready to boost your app’s performance? Find the ideal tiered model for your goals. Unlock your app’s full potential now!
Connect for additional insights:
Email:[email protected],
Call: Kenya: +254 703 781 668, Kenya: +91 9942576886 or visit our website: ../.
